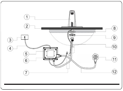
Thông tin sản phẩm:
Vòi cảm ứng Smartech ST-101
Vòi rửa tay tự động cho chậu rửa (lavabo) thay thế các vòi xả thủ công, nhằm hạn chế lãng phí nước.
Điện áp: DC 6V – 4 pin AA
Công suất tiêu thụ : 0.5-1.5mw
Áp lực nước cấp : 0.05-0.6mpa
Nhiệt độ nước tối ưu : 5-50 độ
Khoảng cách cảm ứng tối ưu: 12 – 18cm
Thời gian ngắt: 1 giây
Nước sử dụng: Nguồn nước sạch không cặn bẩn
Tuổi thọ pin: 100.000 lần sử dụng
Kích thước thân vòi: 135x155x162 mm
Trọng lượng thân vòi: 0.61 kg
Bảo hành: 24 tháng, chu đáo tuyệt đối (1 đổi 1 – chỉ có tại Smartech)
Tốt hơn khi dùng nóng lạnh với bộ trộn SmarTech : ST-P01 – 300.000/ bộ
Hãng sản xuất: SMARTECH
Công nghệ: Châu Âu







